Значения расходов окислителя и горючего в установившихся режимах являются исходными данными для расчета основных характеристик жидкостного ракетного двигателя (ЖРД). Также большое значение имеет измерение расходов в переходных режимах работы. Так что контур измерения расходов — это важный элемент автоматизированной системы управления испытательным стендом.
Задача измерения расхода — типичная задача автоматизации. И в качестве первичного прибора было решено использовать один из стандартных датчиков — турбинный преобразователь расхода ТПР12-2-.., который подходит в том числе для измерения расхода криогенных жидкостей.

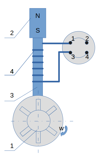
Преобразователь представляет собой корпус, в камере которого перпендикулярно к направлению потока расположена турбинка, являющаяся чувствительным элементом преобразователя. При воздействии потока жидкости на турбинку та вращается с угловой скоростью, пропорциональной скорости потока жидкости. Угловая скорость турбинки посредством магнитоиндукционного генератора преобразуется в электрический сигнал переменного тока, частота которого пропорциональна угловой скорости турбинки, а, следовательно, измеряемому расходу.

На рисунке 1- турбинка, 2 — магнит, 3 — сердечник, 4 — катушка.
Таким образом преобразователь ТПР предназначен для выдачи информации об объемном расходе измеряемой жидкости в виде электрического сигнала синусоидальной формы, частота которого на верхнем пределе измерения составляет (25025)Гц. На рисунке представлен вид осциллограммы с выходов датчика.

Поскольку датчик выдает частотный сигнал, необходимо сначала преобразовать его в сигнал подходящий для подключения к ESP32. С целью создания более бюджетной системы было принято решение обойтись без стандартных приборов преобразования частотного сигнала и воспользоваться аналоговым компаратором. Цель данного элемента — преобразовывать синусоидальный сигнал с датчика в двухуровневый импульсный сигнал с частотой импульсов равной частоте синусоидального сигнала.
Реализовать преобразователь сигнала можно на простом операционном усилителе LM358, как компараторе с положительной обратной связью.

Электрическая схема преобразователя представлена ниже:

Операционный усилитель запитывается от однополярного 5 вольтового источника питания. На инвертирующий вход подается синусоидальный сигнал переменной амплитуды. Резисторы R1 и R2 имеют номиналы 1 kОм и 10 Ом соответственно.
Напряжение на неинвертирующем входе снимается с делителя напряжения подключенного к выходу операционного усилителя и мы можем рассчитать его значение для положительного и отрицательного напряжения насыщения. Надо учитывать, что выходное напряжение операционного усилителя будет меньше на напряжение насыщение Usat (saturation — насыщение). У большинства операционных усилителей, включая и LM358, положительное и отрицательное напряжение насыщения при однополярном питании равно Vcc – 1..2 и 0 Вольт соответственно, где Vcc – это напряжение питания.
Таким образом выходное напряжение операционного усилителя имеет значение либо:
Uout = ~Vcc – 1= +5 – 1 ≈ +4 В,
либо:
Uout = ~Vcc – 0= 0 – 0 = 0 В
Выходной сигнала операционного усилителя подается на неинвертирующий вход и задает порог переключения схемы.
Uin1+ = +Uout*R1/(R1+R2) = 4*10/1010 ≈ 40 мВ
Т.е. при достижении входного напряжения с более меньшего до 40 мВ происходит изменение значения на выходе
При этом на выходе получается импульсный сигнал вида:

В результате получилось вот такое преобразование сигнала при изменяющимся расходе:
Частоту импульсного сигнала нетрудно посчитать при помощи микроконтроллера. Разбор кода подсчета частоты будет представлен в следующей статье.

Добавить комментарий